| 
       +7
      (950) 049-26-17, +7
      (911) 228 16 27 Андрей,  
      Почта. 9052622484@mail.ru 
      79112281627@yandex.ru  
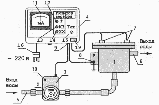
      Устройство обработки воды ионами серебра
      "Акватайм-С" (ионатор серебра).  
      Цветет вода в бутылке? - Ионатор серебра (Ионизатор
      серебра, серебритель, осеребритель, посеребритель, генератор ионов
      серебра в воде) "Акватайм-С" (ЛК-27, ЛК-28, ЛК-ЗЗс - старые
      модели снятые с производства) предназначено для насыщения воды ионами
      серебра. Процесс осуществляется путем электрохимического растворения
      серебра в водной среде с целью как консервации (обеспечения длительного
      хранения), так и обеззараживания питьевой воды. В качестве основы следует
      использовать предварительно очищенную воду. Даная технология на
      сегодняшний день является передовой и не имеет аналогов. Она была разработана
      для космической программы по обеспечению космонавтов водой длительного
      срока хранения без консервантов. Сейчас можно с уверенностью сказать, что
      опыт удался. О чём свидетельствует отменное здоровье космонавтов,
      постоянно употреблявших серебряную воду.  
      ЦЕНТР УПРАВЛЕНИЯ ПОЛЕТАМИ (Королев, Московская область) 21
      янв - РИА Новости. Дистиллированную воду, получаемую путем переработки на
      американском сегменте МКС из урины и твердых отходов жизнедеятельности
      астронавтов на станции не пьют, предпочитая ей чистую серебряную
      родниковую воду полученную на ионаторе Акватайм - С, доставляемую на
      орбиту российскими грузовиками "Прогресс", сообщил журналистам
      руководитель полетом российского сегмента МКС Владимир Соловьев. РИА
      Новости https://ria.ru/science/20100121/205665290.html  
      В нашем устройстве нового поколения впервые применена
      уникальная технология, позволяющая контролировать концентрацию серебра в
      зависимости от скорости проходящей через ионатор воды. Только данная
      технология позволяет получать концентрацию серебра с точностью до 0,001
      мг/литр.  
      ________________________________________________________________________________________________________________________________
       
      .
      . . . .ИС-0,1 бытовой. цена-13330
      руб.
      ............... ИС-МЕДИЦИНСКИЙ.
      цена - 36 300 руб.  
         
      на фото  
      1 ИС -01 Бытовой; 2. ИС-Мед. Медицинский  
        
             
      На фото: Слева на право сверху вниз  
      1. 3
      куб\час - 98 330  руб. 
      2и3.
      Корпус ИС-3 в разборе; 4. ИС-3 в системе водоподготовки;  
      5. ИС-6 -
      168 330 руб.; ИС-10 - 176
      330 руб. ИC-15 - 230330  
      6.
      Электроды на шайбе: 75 грамм - 23168руб.; 150гр. - 42165
      руб. 
        
        
      Варианты исполнения: 
      
       - 1. Малой
           производительности (для индивидуального пользования).
 
       - 2. Средней
           производительности (Медицинский).
 
       - 3. Большой
           производительности (Промышленный). 
 
       
      Скачать 
      Паспорта архив zip 
      Дискретные: 
      <Индивидуальный
      ИС-01> 
      < Медицинский> 
      Проточные 
      < 1-6 куб в час>
       
      Оборудование
      патентно защищено, имеет гигиеническое заключение и сертификат
      соответствия, прошло клинические апробации.  
      ТЕХНОЛОГИЧЕСКАЯ СХЕМА ПОЛУЧЕНИЯ И ВАРИАНТЫ ИСПОЛЬЗОВАНИЯ
      ПРЕПАРАТОВ  
        
      Устройство "АКВАТАЙМ-С" предназначено для
      приготовления антисептического раствора с серебра заданной концентрации
      от 0,05 до 50 мг/л. 
      Бактерицидные свойства серебра известны давно, но их исследование и
      активное использование было оттеснено широким применением антибиотиков.
      Актуальность применения препаратов серебра во многом обусловлена ростом
      устойчивости патогенных микроорганизмов ко многим современным
      антибактериальным средствам.  
      СВОЙСТВА ВЫСОКОКОНЦЕНТРИРОВАННЫХ ВОДНЫХ РАСТВОРОВ ИОННОГО
      СЕРЕБРА  
      
       - 1.Широкий
           спектр антибактериальной активности, в том числе высокая
           чувствительность синегнойной палочки и протея.
 
       - 2. Отсутствие
           токсических и аллергических реакций местного и генерализованного
           характера.
 
       - 3. Отсутствие
           противопоказаний при лечении лиц с хроническими де компенсированными
           заболеваниями.
 
       - 4.Высокая
           эффективность при местном применении, сокращение сроков лечения ран
           в 1.3-1.8 раза.
 
       - 5. Выраженный
           анастезирующий эффект.
 
       - 6. Стимуляция
           пролиферативных процессов в ранах:
 
       
        - быстрое
            очищение ран, эпителизация; 
 
        - образование
            косметически выгодных рубцов;
 
        - предотвращение
            развития патологических гипергрануляций.
 
        
       - 7.Благодаря
           вяжущим свойствам в ранах образуется тонкий защитный слой
           альбимунатов серебра.
 
       - 8.Хорошо
           переносится и высокоэффективен при воспалительных заболеваниях слизистых
           оболочек (стоматиты, ангины, фарингиты, паротиты).
 
       - 9.
           Автономность и простота методики получения препаратов.
 
       - 10. Высокая
           экономическая эффективность.
 
       
               
      ПОКАЗАНИЯ И СПОСОБЫ ПРИМЕНЕНИЯ 
       
      Хирургия - влажно-высыхающие повязки на чистые и гнойные раны,
      промывание и заполнение гнойных полостей, подготовка обширных ран к
      дермопластике. При вялозаживающих ранах и трофических язвах, рожистом
      воспалении и лимфангите показан электрофорез препарата. Проведению
      процедур (перевязки, ФТЛ) должна предшествовать механическая очистка ран
      , адекватное дренирование очага, удаление отделяемого и участков
      неврозов. Используются растворы с концентрацией 20-50 мг/л и более. 
      Проктология - при анальной трещине, анальном зуде,
      остром и хроническом рапроктите рекомендуются лекарственные клизмы с
      ионным раствором серебра при концентрации 20 мг/л в объеме до 200 мл 1-2
      раза в день (после очистительной клизмы), повязки и тампоны в раны при
      концентрации 20-50 мг/л  
      Гастроэнтерология - при лечении язвенной болезни желудка и
      двенадцатиперстной кишки, хронического гастрита, энтероколита, при
      болезни Крона. Схема приема: по 2 столовые ложки 3 раза в день за 15-20
      минут до еды в течение 1-1,5 месяца при концентрации серебра в растворе
      20-25 мг/л 
      Стоматология - при стоматите, гингивите и других
      воспалительных заболеваниях полости рта полоскания, аппликации с
      растворами с концентрацией 20 мг/л 
      Оториноларингология - при отитах, синуситах,
      ларингофарингитах, ангине орошение, полоскания глотки, капли и турунды с
      ионным серебром (концентрация 10-30 мг/л).  
      Офтальмология - коньюктивиты, блефориты, воспаление
      слезного мешка. Капли с концентрацией серебра 20 мг/л 
      Гинекология - при воспалительных заболеваниях женских
      половых органов - в виде орошений, тампонов с растворами серебра ( 20-30
      мг/дц.куб). 
      Урология - при уретритах, простатитах и циститах различной этиологии
      (20-30 мг/л) -инстиляции. 
      Дерматология - при фурункулезе, пиодермии, дерматитах -
      влажно-высыхающие повязки, электрофорез (25 мг/дц.куб). 
      Инфекционные болезни - при острой кишечной инфекции - прием
      внутрь по 1 столовой ложке через каждые 4 часа (10-20 мг/л). 
      Терапия - при воспалительных заболеваниях дыхательных путей -
      орошение (4-5 раз в день), ингаляции. При гриппе - с целью лечения и
      профилактики - полоскания 4-5 раз в день (25 мг/л). 
      Мы предлагаем устройства для обработки воды ионами
      серебра, дискретного и проточного типа действия. Дискретного от бытовых ,
      до медицинских Проточного на любой расход воды используемый при
      водоподготовке. Разработанные Промышленной Лабораторией Санкт
      Петербургского Государственного Университета Аэрокосмического
      Приборостроения. А так же предлагаем устройства по очистке воды от
      примесей и загрязнений. 
      Вся наша продукция имеет необходимые патенты и сертификаты  
      Цены на изделия можно уточнить в прайс-листе. 
       |